Зольник является одним из важных функциональных элементов подтопочной части современных печей. Впервые он был внедрён в практику строительства печей И.И. Свиязевым.

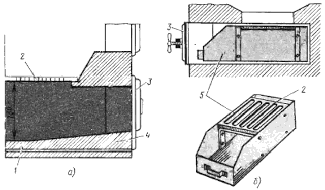
Зольник печи (а) и выдвижной бункер зольника (б):
Зольник предназначен для сбора золы и шлака, поступающих из топливника через колосниковую решётку, а также для обеспечения доступа воздуха, участвующего в процессе горения. Поэтому он носит второе название — поддувало.
Конструкция зольника
Зольник представляет собой камеру, состоящую из пода, колосниковой решётки и поддувальной дверки. Зольники некоторых печей, например каркасных, оборудованы выдвижным бункером, перекрываемым колосниковой решёткой, что облегчает выемку золы и чистку топливника.
Зольники без выдвижного бункера выполняют с наклонным участком пода — пандусом, предотвращающим возможное выпадение горячего шлака или раскалённых углей за пределы печи, а также облегчающим выемку золы.
Дверкой, перекрывающей поддувало с фасада, в основном регулируют количество воздуха, поступающего в топливник. Поэтому, изменяя величину притвора полотна поддувальной дверки, можно влиять на КПД печи, зависящего от расхода воздуха, циркулирующего через поддувало.
Габаритные размеры зольника должны обеспечивать приток воздуха в топливник, достаточный для полного сгорания топлива, а также вмещать суточное потребление золы. При недостаточной вместимости он переполняется золой и шлаком, что ухудшает процесс горения в топливнике.
Чрезмерные размеры поддувала отрицательно влияют на эксплуатационные показатели печи. Высокие поддувала нередко служат причиной плохого горения топлива. Объясняется это следующим. Воздушный поток, поступающий в поддувало через относительно небольшое отверстие поддувальной дверки, образует завихрения в области пода. В результате на уровне колосниковой решётки создаётся зона пониженного давления, что ведёт к опрокидыванию тяги, то есть к поступлению воздуха не из поддувала в топливник, а наоборот — из топливника в поддувало.
Количество золы, которое должен вместить зольник, зависит от вида сжигаемого топлива.
Конструкция шанцев
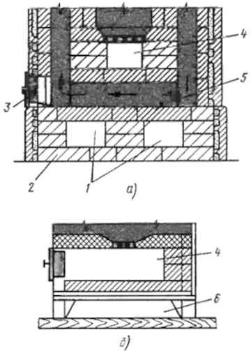
В печах, конструкция которых содержит подзольный дымовой канал, между фундаментом и топливником располагают шанцы — горизонтальные кирпичные каналы, в которых циркулирует воздух отапливаемого помещения. Шанцы, как правило, применяют в печах, устанавливаемых на втором этаже здания. В этом случае печь содержит и шанцы, и зольник, под которого служит перекрытием подзольниковых каналов.

Шанцы теплоёмких печей:
1 — каналы; 2 — выстилка; 3 — чистка; 4 — зольник; 5 — подзольниковый канал; 6 — подзольниковое пространство
Наличие шанцев несколько снижает массу печи и интенсифицирует циркуляцию воздуха обогреваемого помещения. Однако в шанцах может скапливаться пыль, что снижает санитарно-гигиеническое состояние помещений. Поэтому в конструкциях каркасных печей создают открытое подзольниковое пространство, выполняющее роль шанцев.
Комментарии