Одним из самых необходимых строений на даче является погреб. Вы можете самостоятельно построить дешёвый и практичный погреб при использовании в строительстве технологии Earthbags.
Внешний вид
Содержание
Особенности технологии
В землебитной строительной технологии Earthbags мешки, набитые землёй, укладываются с перевязкой как кирпичи. Навыки, приобретённые в строительстве землебитного погреба могут затем пригодиться при строительстве дома по этой технологии.
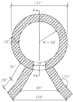
Размеры
Погреб представляет собой землебитный купол внутренним диаметром 2,4 м (наружный диаметр около 3,3 м) и высотой 2,4 м. Диаметр погреба может быть увеличен до 4,8 м. В верхней части купол погреба имеет форму конуса.
Варианты устройства
Возможны несколько вариантов устройства погреба:
- на поверхности;
- на поверхности с земляной обваловкой;
- ниже уровня земли;
- врезанный в склон, частично или полностью под землей с перехватным и французским дренажами.

Наземный погреб

Заглубённый погреб
Строительство
Фундамент

План

Первые ряды мешков
Первые два ряда мешков образуют кольцо. Следующие ряды укладываются по обе стороны от дверного проема. Вход в погреб желательно выполнять с восточной стороны для защиты от господствующих западных ветров.
Козырёк над входом

Расположение балок козырька

Устройство козырька над входной дверью погреба
Участок купола над дверью необходимо профилировать таким образом, чтобы на дверь погреба не стекала дождевая вода.
Образующая купола

Контроль формы купола
Дуга, описываемая рейкой длиной 284 см, позволяет контролировать форму купола при строительстве погреба.
Заполнение мешков

Заполнение мешков грунтом
Заполнять мешки достаточно удобно ведрами ёмкостью 9 л. Для удобства заполнения мешков можно использовать большую воронку, изготовленную из пластикового ведра с отрезанным дном.
Трамбовка

Трамбовка мешков с землёй
Мы использовали две трамбовки разной длины, подошвы которых представляли собой квадрат из стали 15 x 15 см толщиной 10 мм.
Выравнивание
Как правило, для выравнивания каждого ряда требуется дополнительная трамбовка лишь нескольких мешков.
Арочные формы
Мы экспериментировали со старыми шинами (с подпорками под ними) для создания арочных форм, так как это быстрее и дешевле, нежели изготовление изогнутых форм из фанеры.
С полной версией этой статьи можно ознакомиться в журнале Mother Earth News.
Автор Оуэн Гейгер (Owen Geiger)
Перевод Олега Меньшенина
Комментарии1
Закономерный вопрос
Закономерный вопрос. Kelly Hart пишет: «...Такой она [дуга] должна быть до уровня чердака (около 2,5 м), а выше чердака куполу лучше придать форму конуса, используя прямоугольный треугольник с углом при вершине в 30° в качестве ориентира...» см. https://mensh.ru/articles/malenkiy-zemlebitnyy-kupolnyy-dom-stroitelstvo